HMD-500-SMT

HMD-500-SMT is intended as a drop in replacement for ASC HMD 500 and Delta 2010. It is functionally compatible with both units, but it is microcontroller-based and provides additional functionality, flexibility, and intelligence comparing to old models. The microcontroller operation is virtually invisible to the user and the HMD-500-SMT has the same interface and controls as older units. The scanner mirror is made from light material and powered by durable DC motor, which guaranties years of maintenance free service.

The scanner is fully programmable via the RS-232 or RS-485 port using any ASCII terminal. For quick and easy installation and setup, ASC recommends a ASCII keypad, which can be conveniently powered from scanner RS-232 connector. For applications requiring setup and data collection, any PC computer with serial port and running a terminal program can be used.

HMD-1000 F diagram
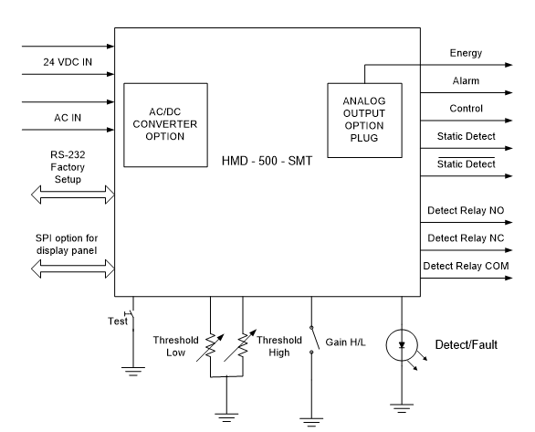
HMD-500 electronics

The HMD-500-SMT inside a protective enclosure.

HMD-500 front panel

The front panel.



Technical Specifications

Detection Outputs:

  • Static Output

    • 24V logic
    • Source/Sink Capcity: 250mA
    • Protected by self-resetable fuse
    • Response Time:

      • Detection ON Time: <= 2ms low speed
      • Detection ON Time: <= 1.5ms high speed
      • Detection OFF Time: <= 6ms low speed
      • Detection OFF Time: <= 4ms high speed
  • Relay Output

    • Contacts Rating: 5 Amp at 250VAC
    • Response Time: Add additional 7ms to static output response time.
    • UL, CSA, BSA approved

Power Input:

  • 24VDC (22V to 28V) at 100mA nominal, 200mA peak
  • 100 to 260VAC at 7W max.

Other:

  • Detection Threshold Adjustment Range: 100mV – 2.5V
  • Gain Control:

    • High/Low gain select jumper ( x 10)
    • Gain boost jumper x 5.
  • Pointing Laser: 1mW @ 650nm (Class 2)


If you require additional information about this product, please contact us at: jknanotech@outlook.com