HMD-3000

The HMD-3000 uses a high-sensitivity chopper amplifier and focusing optics to detect the presence of hot objects in its field of view. Therefore, the sensor can be installed far away from the product and can detect the presence of a product having a temperature as low as 200°C (392°F).

The HMD-3000 scanner is fully programmable via the RS-232 or RS-485 port using any ASCII terminal. For quick and easy installation and setup, ASC recommends a ASCII keypad, which can be conveniently powered from scanner RS-232 connector. For applications requiring setup and data collection, any PC computer with serial port and running a terminal program can be used.

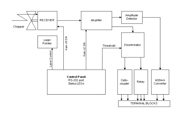
HMD-3000 block diagram
HMD-3000 inside protective enclosure

The HMD-3000 installed in ASC's trademark orange enclosure.

HMD-3000 front panel

The front panel.

HMD-3000 electronics

Sensor removed from enclosure.



Technical Specifications

Power Requirements:

  • DC Option: 24V (23V to 25V) @ 150mA
  • AC option: 90VAC to 265VAC /10W

Outputs:

  • SPDT Relay

    • Contacts rating: 10 Amp at 250VAC
    • Relay response time: < 7ms
    • UL, CSA, BSA approved
  • Opto-coupled MOSFET:

    • Load current: 200mA max
    • Breakdown voltage: 100V
    • Response time: 100 uS
    • Isolation: 1500V r.m.s
    • UL, CSA, BSA approved
  • 4-20mA Current Loop:

    • Max load: 1k
    • Out- GND Isolation: 500VDC
    • Setup accuracy: 0.15%

Response time:

  • Detection ON time

    The time from the moment of an object appearing in the field of view to the moment when output changes state.

    • MOSFET Output: < 2ms
    • Relay Output: < 10 ms
  • Detection Off time

    The time from the moment of an object disappearing from the field of view to the moment when output changes state.

    • MOSFET Output: 2ms + holdup time
    • Relay Output: 10 ms + holdup time

Other:

  • Gain control: 4 selections in 1, 2, 5, 10, sequence plus Automatic Gain Control Mode ( AGC).
  • Threshold control: 1% to 25% of signal linear range
  • Pointing laser: 1mW @ 650nm (Class 2)
  • Field of view: 0.57deg H x 2.85 deg V


If you require additional information about this product, please contact us at: jknanotech@outlook.com